港股动态
瑞财经原创专栏,汇总香港上市公司动态。
星岛环球网 2026-02-13 18:38 5.1w阅读
《星岛》见习记者 洪雨欣 深圳报道
2026年2月12日,中国证监会披露招商证券向该会北京监管局提交对华卓精科首次公开发行股票并上市的辅导备案报告。
此前,北京华卓精科科技股份有限公司(以下简称“华卓精科”,)刚宣布其自主研发的D2W(Die-to-Wafer)芯粒混合键合装备成功交付客户。
《星岛》注意到,这是继2024年撤回IPO申请近两年后,曾被誉为 "光刻机第一股" 的高科技企业再度踏上资本化征程。
本次辅导将由招商证券联合北京市邦盛律师事务所和容诚会计师事务所(特殊普通合伙)共同完成合规性、独立性培训、健全财务会计制度、完善内部控制体系和公司治理运行等辅导工作。
公告显示,华卓精科成立于2012年5月9日,长期专注于纳米级超精密测控技术,是国内领先的集成电路制造装备及其核心部件、精密/超精密运动系统及相关技术供应商。主营业务方面,华卓精科主要从事光刻机双工件台、超精密测控装备整机以及关键部件等衍生产品的研发、生产及销售和技术服务,属国家鼓励类产业。

▲华卓精科产品,来源:华卓精科官网
华卓精科通过向下游集成电路制造、超精密制造、光学、医疗、3C制造等行业内公司销售包括光刻机双工件台在内的超精密测控装备整机及部件,并根据客户在精密度等方面的具体需求提供相应的技术开发服务实现收入和利润。关键技术主要有光刻机双工件台技术、晶圆级键合设备技术、激光退火设备技术、精密运动系统技术及静电卡盘技术。
2024年因故撤回上市申请
事实上,华卓精科的资本之路堪称曲折。
公开资料显示,华卓精科(834733.NQ)最早于2015年12月11日在全国中小企业股份转让系统挂牌。在新三板期间,公司共实施5次定向增发,合计募资约1.42亿元。2019年2月13日,公司主动终止挂牌,转战科创板。

2020年6月24日,华卓精科向上交所科创板递交IPO申请并获受理。IPO审核期间,公司经历66轮问询,2021年7月29日,首次上会遭遇暂缓审议;同年 9月17日,通过上市委审核,但此后迟迟未提交证监会注册。最终于2024年6月26日由公司及保荐人主动撤回申请,上交所随之终止审核,这场跨越四年的资本化尝试暂告段落。

辅导报告指出,华卓精科撤回申请的原因是“基于整体市场环境及自身资本运作发展规划”。
2024年上半年,A股IPO审核节奏明显趋缓,尤其是对硬科技企业的盈利能力和持续经营能力提出更高要求。据Wind数据,2024年全年科创板IPO过会率不足60%,多家半导体及高端装备企业因业绩波动或技术商业化进度不及预期被暂缓或终止审核。
另一方面,华卓精科的撤回决策与其业务发展、盈利能力和商业兑现能力息息相关。
Wind数据显示,公司IPO拟募资7.35亿元,用于半导体装备关键零部件研发制造、超精密测控产品长三角创新与研发中心等四大项目。

▲来源:华卓精科《招股书说明书》
但截至2023年底,核心产品光刻机双工件台仍未实现规模化量产。据2023年12月披露的《关于北京华卓精科科技股份有限公司首次公开发行股票并在科创板上市申请文件第二轮审核问询函的回复》(以下简称《回复》),上交所的回复材料显示:
2017年至2020年9月,华卓精科光刻机双工件台实际销量为 0,仅2020年4月向上海微电子发货一台且未通过验收;此期间,该产品账面销售金额实则为技术服务与双工件台模块收入,并非整机销售所得。同时公司招股说明书将光刻机双工件台列为主要产品,且披露的主要产品收入构成中,未区分精密运动系统等品类的产品销售与技术服务收入,存在信息披露与实际经营情况不符的问题。

▲来源:问询函关于业务披露的回复材料
华卓精科于2021年9月10日发布的《招股说明书》披露其经营和财务方面的风险。第一,公司面临销售收入规模较小、销售结构尚未稳定的问题,会引起未来经营业绩大幅下滑的风险;第二,公司部分业务客户单一且对单一客户存在依赖,商业化前景不明朗;第三,政府补助政策变动的风险。
招股书显示,报告期内,公司收到的政府补助分别为13,931.25万元、32,136.67万元和26,651.20万元。如果未来公司无法继续享受上述政府补助,将影响公司的技术研发投入,对公司未来经营业绩造成一定不利影响。
《星岛》查阅华卓精科的最新财务指标,发现自2021年后,公司未披露任何财务相关数据。招股书显示,截至2021年3月末,公司资产总额为117,472.92万元,同比减少6.53%;营业收入为1,501.70万元,同比增长48.59%;净利润为-707.20万元,同比减少 452.28 万元;所有者权益金额为36,065.80 万元,同比减少1.83%。
辅导报告显示,招商证券将组织讨论公司未来发展规划,加深对上市公司的全面认识。
清华系主导的技术型企业
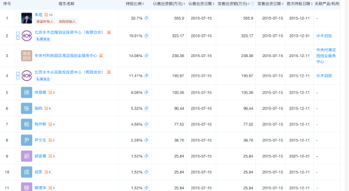
根据辅导报告,截至2026年初,华卓精科注册资本为27,466.93万元。公司控股股东、实际控制人为朱煜,其直接持股比例达37.81%,并通过一致行动协议等方式合计控制公司51.89%的表决权。
公开资料显示,朱煜是清华大学机械工程系长聘教授、博士生导师,担任国家“极大规模集成电路制造装备及成套工艺”科技重大专项技术副总师,兼任光刻设备产业技术创新战略联盟专家委员会副主任。2020年参与创办华卓精科、华海清科两家公司并推动科创板IPO申报。

《回复》表示,华卓精科与与清华大学享共有技术,双方共同所有 160 项专利技术。

▲来源:问询函关于与清华大学共有技术的问询回复
据天眼查最新公示的股东信息,前十大股东中有九名与清华大学有关联。其中,北京水木启程创业投资中心和北京水木长风股权投资中心(有限合伙)同属北京水木国鼎投资管理有限公司(以下简称“水木创投”)下的创投基金,共持股30.42%。水木创投系北京清华工业开发研究院下设的科技成果产业化专业投资管理平台。
此外,股东徐登峰、张鸣、杨开明、尹文生、胡金春、穆海华、成荣均为清华大学机械工程系 IC 装备研究室成员。

▲前十大股东明细
华卓精科曾因与清华大学的深度绑定,遭遇专利、自主研发、核心技术、公司治理方面的问询。
招商证券表示,会就如何完善公司治理运行及信息披露制度进行辅导,将组织安排公司总经理及其他高级管理人员的工作制度,股东及公司董事、监事、高管人员持股规范,信息披露制度规范等的培训; 督促公司进一步完善企业经营和管理机制。